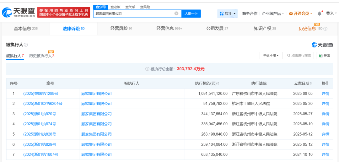
顾家集团有限公司、顾江生等新增一则被执行人信息,执行标的10.9亿余元
天眼查天眼风险信息显示,8月5日,顾家集团有限公司、顾江生等新增一则被执行人信息,执行标的10.9亿余元,执行法院为广东省佛山市中级人民法院。
该公司成立于2008年12月,法定代表人为顾江生,注册资本约1.1亿人民币,经营范围包括实业投资、企业管理咨询、货物进出口等。股东信息显示,该公司由王火仙、顾江生、王才良、王丽英共同持股。
诚多网提示:文章来自网络,不代表本站观点。
本文评分*
评论内容*
你的昵称*
你的邮箱*